-
珠海万达1.8亿股权被冻结
查看详情天眼查法律诉讼信息显示,近日,珠海万达商业管理集团股份有限公司新增一条股权冻结信息,被执行人为 非发起人,冻结股权数额为1.84亿余元,冻结期限自2024年7月4日至2027年7月3日,执行法院为横琴粤澳深度合作区人民法院。
珠海万达商业管理集团股份有限公司成立于2021年3月,法定代表人为肖广瑞,注册资本约72.48亿人民币,由大连万达商业管理集团股份有限公司等共同持股。天眼风险信息显示,大连万达商业管理集团股份有限公司持有该公司的50亿余元股权已多次被冻结。
-
揭秘油罐车混装涉事方汇福粮油汇福粮油在冀辽苏有多家公司
查看详情近日,媒体报道罐车卸完煤制油直接装运食用油,引发舆论高度关注,其中涉事企业包括汇福粮油集团。据2024年《胡润全球富豪榜》显示,汇福粮油集团董事长石克荣以72亿元身家上榜。
天眼查App显示,三河汇福粮油集团有限公司成立于2004年6月,法定代表人为石克荣,注册资本8.3亿人民币,由石克荣、石晟阳共同持股。对外投资信息显示,该公司直接持股16家企业,其中12家为存续状态,分布在河北省、江苏省和辽宁省。资质证书显示,该公司曾获ISO9001、食品工业企业诚信体系认证、食品诚信体系认证等多个证书。天眼风险信息显示,该公司曾因未按照规定使用大气污染物排放自动监测设施被行政处罚。
-
揭秘化工油食用油混装收货方油罐车混装收货方曾超限运输被停业
查看详情近日,媒体报道罐车运输行业存在食品类液体和化工类液体运输混用且不清洗的情况,引发多方关注。据报道视频显示,汇福粮油集团散装食用大豆油的收货方为河北物流集团金属材料有限公司。
天眼查App显示,河北物流集团金属材料有限公司成立于2009年3月,法定代表人为张有贵,注册资本5亿人民币,经营范围包括金属材料销售、金属矿石销售、建筑材料销售、化工产品销售、石油制品销售、润滑油销售、食用农产品批发、食用农产品零售、道路货物运输等,由河北省物流产业集团有限公司全资持股。对外投资信息显示,该公司持有30余家公司股份,涉及贸易、投资、储运、供应链等领域。天眼风险信息显示,去年9月,该公司因道路运输企业1年内违法超限运输的货运车辆超过本单位货运车辆总数10%,被石家庄市交通运输局责令停产停业。
(天眼查) -
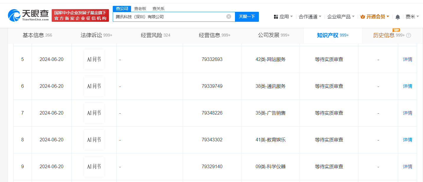
腾讯申请AI问书商标
查看详情天眼查知识产权信息显示,近日,腾讯科技(深圳)有限公司申请5枚“AI问书”商标,国际分类为网站服务、通讯服务、广告销售、教育娱乐和科学仪器,当前商标状态均为等待实质审查。
据媒体报道,微信读书在今年4月上线了AI问书新功能,该功能允许用户通过微信读书的搜索框输入特定主题,借助AI技术快速获得相关的分析和解答。
(天眼查)
-
格力预制菜装备公司经营异常
查看详情天眼查App显示,近日,珠海格力预制菜装备科技发展有限公司因未依照规定公示年度报告,被珠海市香洲区市场监督管理局凤山市场监督管理所列入经营异常名录。
该公司成立于2022年12月,注册资本5000万人民币,法定代表人、执行董事为董明珠,经营范围包括家用电器研发、制造、销售,农副食品加工专用设备制造、销售,农产品智能物流装备销售,电热食品加工设备销售等,由格力电器(000651)全资持股。
(天眼查) -
高合汽车销售公司经营异常
查看详情天眼查App显示,近日,高合(青岛)汽车销售服务有限公司因通过登记的住所或经营场所无法联系,被莱西市市场监督管理局列入经营异常名录。
高合(青岛)汽车销售服务有限公司成立于2021年4月,注册资本20亿人民币,法定代表人、董事长兼总经理为丁磊,由高合汽车关联公司华人运通投资有限公司全资持股。对外投资信息显示,该公司直接持股30余家企业,均为高合在全国各地的销售服务公司。天眼风险信息显示,该公司现存2条被执行人信息,被执行总金额超67万,此外还存在多个股权冻结信息。
-
揭秘狂飙兄弟事件车辆鉴定公司
查看详情近日,狂飙兄弟发布视频称“玩车研习社”出售的二手车辆疑为重大事故车。经第三方鉴定认定,该车辆非重大事故车。随后,狂飙兄弟向“玩车研习社”道歉,但“玩车研习社”表示暂不接受。7月8日,据网友视频,在事件中的“三个男孩机动车鉴定评估中心”已暂时闭店。
天眼查App显示,三个男孩机动车鉴定评估中心关联公司为三个男孩(陕西)汽车科技有限公司,其成立于2021年5月,法定代表人为薛小辉,注册资本300万人民币,经营范围含计算机软硬件及辅助设备批发、计算机系统服务、机动车鉴定评估、电子产品销售、机械设备销售、仪器仪表销售、电子元器件制造等,由石磊、薛小辉、索红朝共同持股。知识产权信息显示,该公司已登记“正义检车”“公正志诚二手车市场”“好德二手车车城”等软件著作权。
天眼查显示,三个男孩公司法定代表人薛小辉名下还关联多家企业,包括万疆(北京)汽车服务有限公司、陕西畅联万疆科技有限公司等。
(天眼查) -
蔡徐坤应援棒专利因未缴费失效蔡徐坤工作室应援棒专利权终止
查看详情天眼查知识产权信息显示,近日,上海蔡徐坤影视文化工作室申请的“应援棒”专利因未缴年费专利权终止。该专利申请于2021年6月,于2022年3月获授权。摘要显示,该外观设计产品用途为演唱会等现场表演的气氛烘托道具,设计要点在于形状与图案的结合。
上海蔡徐坤影视文化工作室成立于2018年7月,注册资本1万人民币,经营范围包括影视文化领域内技术开发、技术服务、技术咨询、技术转让等,为蔡徐坤个人独资企业。
(天眼查) -
钟薛高及子公司被强执134万钟薛高累计被执行超1290万
查看详情天眼查法律诉讼信息显示,7月8日,钟薛高食品(上海)有限公司及其子公司钟茂(上海)食品科技有限公司新增一条被执行人信息,执行标的134万余元,涉及运输合同纠纷案件,执行法院为上海铁路运输法院。
钟薛高食品(上海)有限公司成立于2018年3月,法定代表人为林盛,注册资本约12.03亿人民币,由Gloryseed HK Limited全资持股。风险信息显示,该公司现存4条被执行人信息,被执行总金额超1290万元。

-
国家电投中金资本等成立创投基金出资额10亿
查看详情天眼查App显示,近日,电投创兴中金绿色(武汉)创业投资基金合伙企业(有限合伙)成立,执行事务合伙人为中金资本运营有限公司、国家电投集团产业基金管理有限公司,出资额10.13亿人民币,经营范围为创业投资,以私募基金从事股权投资、投资管理、资产管理等活动,以自有资金从事投资活动。
合伙人信息显示,该基金由国家电投旗下国电投三新产业股权投资基金(天津)合伙企业(有限合伙)、国家电投集团产业基金管理有限公司,以及武汉高科产业投资基金合伙企业(有限合伙)、武汉光谷产业投资有限公司、中金资本运营有限公司等8位合伙人共同出资。
(天眼查)