-
恒大地产所持13.5亿股权被冻结恒大地产所持三家公司股权被冻结
查看详情天眼查法律诉讼信息显示,近日,恒大地产集团有限公司新增3条股权冻结信息,股权被执行的企业分别为太原俊景房地产开发有限公司、吕梁市俊汇房地产开发有限公司、合肥粤恒置业有限公司,冻结股权数额合计13.56亿余元,均涉及同一案件,冻结期限为3年,执行法院为成渝金融法院。
上述三家公司分别成立于2010年4月、2011年5月、2015年8月,控股股东均为恒大地产集团有限公司。
(天眼查) -
姚振华及宝能等被执行16.8亿
查看详情天眼查法律诉讼信息显示,6月17日,姚振华、深圳市宝能投资集团有限公司、杭州诚茂投资有限公司新增一条被执行人信息,执行标的16.89亿余元,执行法院为江苏省苏州市中级人民法院。
天眼风险信息显示,深圳市宝能投资集团有限公司现存80余条被执行人信息,被执行总金额超529亿元。此外,该公司还存在多条限制消费令、失信被执行人(老赖)和终本案件信息。
(天眼查) -
天水麦积区申请天水麻辣烫商标
查看详情据媒体报道,三个月之后,流量从打卡麻辣烫,变成追更倒闭故事,相关话题引发热议。
天眼查App显示,“天水麻辣烫”已被申请注册为商标,申请人为天水市麦积区农业产业扶贫开发有限公司,国际分类为方便食品,不过,近日该商标流程已显示为“驳回通知发文”。股东信息显示,天水市麦积区农业产业扶贫开发有限公司由天水市麦积区国有资产经营投资有限公司、天水市麦积区财政局、天水市麦积区城乡投资发展(集团)有限责任公司共同持股。
(天眼查) -
东岭集团等被强制执行3.2亿东岭集团累计被执行超8亿
查看详情天眼查法律诉讼信息显示,6月14日,东岭集团股份有限公司、陕西东岭物资有限责任公司等新增2条被执行人信息,执行标的合计3.2亿余元,均涉及借款合同纠纷案件,执行法院为西安市碑林区人民法院。
东岭集团股份有限公司成立于1980年11月,法定代表人为李黑记,注册资本14.4亿人民币,经营范围含冷拉丝、铁丝、圆钉、冷轧带肋钢筋、有色矿粉、锌及有色金属的生产、冶炼等,由上海岭拓企业管理中心(有限合伙)、陕西省宝鸡市金台区陈仓镇东岭村村民委员会、酒泉钢铁(集团)有限责任公司共同持股。风险信息显示,该公司存在10余条被执行人信息,被执行总金额超8亿元,此外还存在限制消费令和多个股权冻结信息。
(天眼查) -
万达电影在厦门成立新公司万达影业厦门公司成立
查看详情天眼查App显示,近日,万达影业(厦门)有限公司成立,法定代表人为杨海,注册资本1000万人民币,经营范围含电影发行、电视剧制作、电视剧发行、广播电视节目制作经营、电影制片、电影摄制服务、摄影扩印服务、文化娱乐经纪人服务等。股东信息显示,该公司由万达电影(002739)旗下万达影视传媒有限公司全资持股。
值得一提的是,此前,万达电影(002739)已出售给儒意影业。不久前,万达电影(002739)注册地址也从北京市朝阳区建国路93号万达广场迁至朝阳区八里庄东里1号。
(天眼查) -
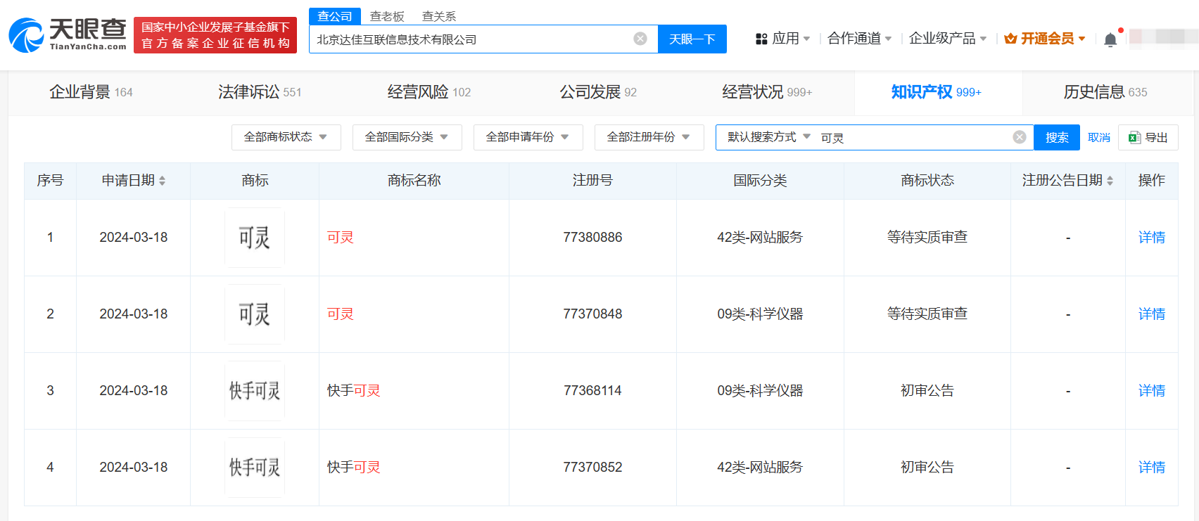
快手申请视频大模型可灵商标快手申请视频大模型商标
查看详情天眼查App显示,近期,快手关联公司北京达佳互联信息技术有限公司申请注册2枚“可灵”和2枚“快手可灵”商标,国际分类均为科学仪器、网站服务,其中2枚“可灵”商标状态为“等待实质审查”,而2枚“快手可灵”商标状态已变更为“初审公告”。
据媒体报道,不久前,快手视频生成大模型“可灵”已开放邀请测试。据介绍,可灵大模型为快手AI团队自研,效果对标Sora。

-
华为申请华为云山图形商标华为申请云山图形商标
查看详情天眼查App显示,近日,华为技术有限公司申请注册“华为云山”“YUNSHAN”图形商标,国际分类包括科学仪器、网站服务、广告销售,当前商标状态为“等待实质审查”。值得一提的是,去年8月,华为申请注册3枚“华为云山”文字商标,其中科学仪器、网站服务类商标已于今年2月注册成功。
(天眼查) -
百度申请文小言商标
查看详情天眼查知识产权信息显示,近日,百度在线网络技术(北京)有限公司申请多枚“文小言”商标,国际分类包括广告销售、网站服务、健身器材、机械设备等,目前商标状态均为等待实质审查。据悉,百度文心一言大模型助手即包括“小言”。
(天眼查)
-
杰伦布朗商标曾遭抢注抢注杰伦布朗商标被驳回
查看详情据媒体报道,凯尔特人以总比分4-1击败独行侠夺得2023-24赛季NBA总冠军,这也是凯尔特人队史的第18冠,杰伦-布朗获得FMVP。
天眼查App显示,“杰伦·布朗”“JAYLENBROWN 杰伦布朗”曾于2019年、2020年分别被郭某某、罗某某申请注册为商标,国际分类为服装鞋帽、珠宝钟表,不过,这3枚商标申请均已被驳回,目前处于无效状态。

-
丝芭传媒已注册鞠婧祎商标抢注鞠婧祎商标被驳回
查看详情据媒体报道,今日,丝芭传媒宣布与鞠婧祎续约,双方正式过渡到以艺人经纪协议为基础的第二阶段合作之中。
天眼查App显示,由上海丝芭文化传媒集团有限公司全资持股的上海丝芭演艺管理有限公司已注册多枚“鞠婧祎”商标,国际分类包括广告销售、教育娱乐、日化用品、乐器等,这些商标申请于2016年、2020年,并分别于次年完成注册。值得一提的是,曾有科技公司于2019年注册2枚“鞠婧祎”商标,其申请已被驳回,目前处于无效状态。
(天眼查)