-
马克华菲在上海成立数字科技公司注册资本1000万
查看详情天眼查App显示,8月23日,上海马克华菲数字科技有限公司成立,法定代表人为杨坤田,注册资本1000万人民币,经营范围含技术服务、专业设计服务、住房租赁、服装服饰批发、电子产品销售、摄像及视频制作服务等。股东信息显示,该公司由马克华菲(上海)商业有限公司全资持股。

-
比亚迪在苏州成立方程豹销售公司
查看详情天眼查App显示,近日,苏州方程豹汽车销售有限公司成立,法定代表人为付振兴,注册资本100万人民币,经营范围含食品销售、二手车经纪、新能源汽车整车销售、充电桩销售等。股东信息显示,该公司由比亚迪旗下深圳方程豹汽车销售有限公司全资持股。
对外投资信息显示,深圳方程豹汽车销售有限公司已投资成立30余家子公司,分布在全国20多个省份。

-
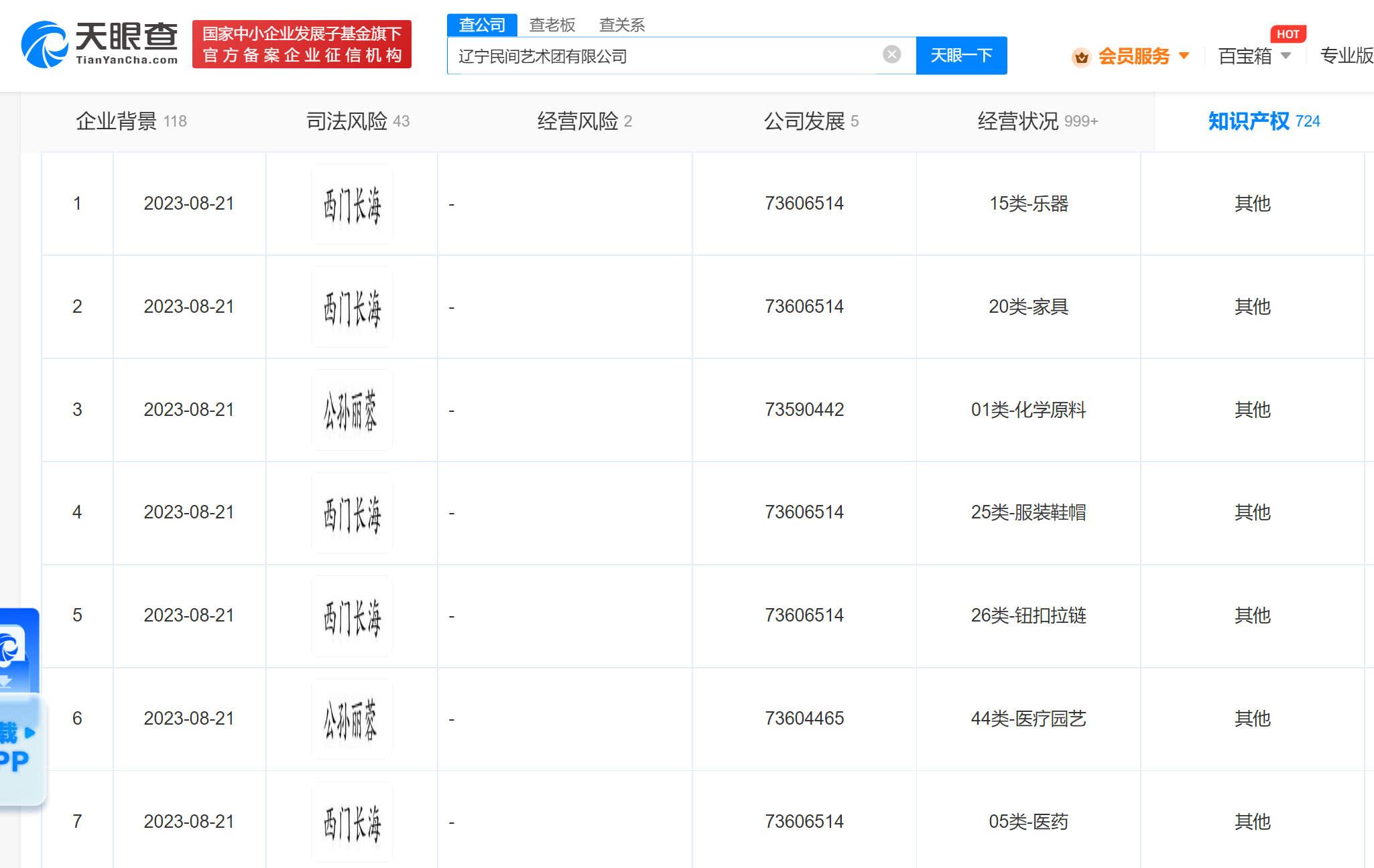
赵本山公司申请鹊刀门传奇角色商标赵本山公司申请新剧角色名商标
查看详情天眼查App显示,近日,辽宁民间艺术团有限公司申请注册多个“西门长海”“西门长在”“公孙丽蓉”商标,国际分类包括服装鞋帽、日化用品、办公用品等,当前商标状态均为申请中。
近日,由赵本山、宋小宝等主演的武侠情景喜剧《鹊刀门传奇》正在热播,西门长海、西门长在为赵本山在剧中饰演的角色名,公孙丽蓉为西门长海的前女友。

-
擅自售张信哲演唱会门票公司被罚票务公司擅自售演唱会门票被罚
查看详情天眼查App显示,近日,星演票务关联公司杭州星演文化艺术策划有限公司因未经批准在淘宝网站销售张信哲衢州演出会门票,违反了《营业性演出管理条例实施细则》相关规定,被杭州市文化广电旅游局罚款6000元,并没收违法所得3000元。
(天眼查)
-
格力建设投资公司增资至40亿格力建设投资公司新增房地产业务
查看详情天眼查App显示,近日,珠海格力建设投资有限责任公司发生工商变更,注册资本由约33.56亿人民币增至约40.59亿人民币,同时公司经营范围新增自有资金投资的资产管理服务、工程管理服务、商业综合体管理服务、园区管理服务、房地产开发经营等。
该公司成立于2017年4月,法定代表人为王忠明,由珠海格力集团有限公司全资持股。

-
理想汽车在深圳成立科技公司含AI软件开发业务
查看详情天眼查App显示,近日,深圳车和家科技有限公司成立,法定代表人为张如良,注册资本100万人民币,经营范围含大数据服务、人工智能基础软件开发、人工智能应用软件开发、云计算装备技术服务、汽车零配件批发、汽车零配件零售、企业管理咨询等。股东信息显示,该公司由北京理想汽车有限公司全资持股。

-
疯狂小杨哥欧普康视投资成立公司疯狂小杨哥与上市公司成立新公司
查看详情天眼查App显示,近日,合肥欧普三羊科技有限公司成立,法定代表人为孙永建,注册资本3000万人民币,经营范围含第一类、第二类医疗器械销售,日用品销售,化妆品零售,第三类医疗器械生产、经营等。股东信息显示,该公司由欧普康视(300595)、合肥三只羊网络科技有限公司、赵春生分别持股57%、40%、3%。
据悉,欧普康视是一家眼视光产品研发制造及医疗服务的A股上市公司。合肥三只羊网络科技有限公司由合肥三只羊创业投资有限公司全资持股,法定代表人、实际控制人为“疯狂小杨哥”张庆杨。
-
美的等成立投资合伙企业
查看详情天眼查App显示,近日,宁波美科美员投资合伙企业(有限合伙)成立,执行事务合伙人为美的创业投资管理有限公司,出资额3751万人民币,经营范围为以自有资金从事投资活动。合伙人信息显示,该合伙企业由朱文斌、陆朝阳等多名自然人和深圳美的资本企业管理有限公司、美的创业投资管理有限公司共同出资。

-
国内2家新公司名叫普里戈任拜登称普京可能是幕后黑手
查看详情据报道,当地时间8月23日,瓦格纳集团高层乘坐的私人飞机坠毁,普里戈任等多人身亡。对此,美国总统拜登表示毫不意外,并暗示俄总统普京可能是幕后黑手。
天眼查App显示,近日,有两家名称含“普里戈任”的新公司成立,分别为云南普里戈任建筑工程有限公司、宁波市普里戈任电子商务有限公司,成立时间分别为今年6月、8月,注册资本分别为4000万人民币和10万人民币。
(天眼查)
-
小红书旗下公司新增AI软件业务
查看详情天眼查App显示,近日,小红书科技(珠海横琴)有限公司发生工商变更,经营范围新增数字技术服务、人工智能应用软件开发、人工智能基础软件开发、软件销售、珠宝首饰批发、汽车零配件批发等。
该公司成立于今年6月,注册资本5100万人民币,法定代表人为王晓博,由小红书科技有限公司全资持 股。
(天眼查)