-
虎头局因劳动仲裁案件成老赖虎头局再成老赖
查看详情天眼查App显示,近日,虎头局关联公司上海万物有样餐饮管理有限公司因有履行能力而拒不履行生效法律文书确定义务,被上海市闵行区人民法院列为失信被执行人(老赖),涉及劳动仲裁案件。案件审理流程显示,今年6月,该公司已因此案被强制执行4.6万余元。
风险信息显示,目前上海万物有样餐饮管理有限公司已多次被列为失信被执行人,涉及合同纠纷案件及劳动仲裁案件。此外,该公司关联多条被执行人、限制消费令信息,被执行总金额超61万元。
-
康师傅饮品投资公司增资至5亿美元
查看详情天眼查App显示,近日,康师傅饮品投资(中国)有限公司发生工商变更,注册资本由约2.81亿美元增至约5.48亿美元,增幅约95%。
该公司成立于2011年5月,法定代表人为蔡慈源,经营范围含在国家允许外商投资的领域依法进行投资,为其母公司、关联公司、所投资企业提供品牌推广、市场营销服务等,由KSF Beverage Holding Co.,Ltd.全资持股。

-
盒马售不合格刺身酱油被罚
查看详情天眼查App显示,近日,上海盒马网络科技有限公司徐汇第五分公司因销售的两款丸江刺身酱油氨基酸态氮项目不符合产品明示指标,被上海市徐汇区市场监督管理局罚款6.3万余元,并没收违法所得3312元。

-
雷丁汽车被冻结907万财产
查看详情天眼查App显示,近日,山东得普达电机股份有限公司、雷丁汽车集团有限公司财产保全执行裁定书公开。文书显示,山东得普达电机股份有限公司向法院申请对被申请人雷丁汽车集团有限公司的财产采取保全措施,查封、冻结、扣押被申请人价值907.53万元的财产。法院经审查认为,被申请人未按生效法律文书确定的内容履行相关法律义务,申请人的请求符合法律规定,裁定执行。
风险信息显示,雷丁汽车集团有限公司存在数十条被执行人信息,被执行总金额超1亿元,还存在失信被执行人、限制消费令及终本案件信息。此外,该公司持有的四川野马汽车股份有限公司、山东比德文动力科技有限公司股权多次被冻结。
-
百度入股互联网医疗平台微脉
查看详情天眼查App显示,近日,微脉技术有限公司发生工商变更,新增浙江余杭转型升级产业投资有限公司、杭州求创凤栖谷股权投资合伙企业(有限合伙)以及百度旗下上海佰颢企业管理合伙企业(有限合伙)为股东。
微脉技术有限公司成立于2013年3月,法定代表人为裘加林,注册资本5057.8万人民币。据悉,微脉是一家互联网+医疗健康服务平台,此前曾获百度投资。

-
东北制药被强制执行267万东北制药累计被执行1389万
查看详情天眼查App显示,近日,东北制药(000597)新增一则被执行人信息,执行标的267万余元,关联案件为沈阳恒兴建筑工程有限公司与该公司建设工程合同纠纷,执行法院为沈阳经济技术开发区人民法院。
东北制药集团股份有限公司成立于1993年6月,于1996年5月在A股上市,其注册资本约13.48亿人民币,法定代表人为郭建民。风险信息显示,该公司存在4条被执行人信息,被执行总金额超1389万元。
-
鞍钢股份成立绿金产业发展公司含报废机动车拆解业务
查看详情天眼查App显示,近日,鞍钢绿金产业发展有限公司成立,注册资本约4.69亿人民币,法定代表人为王琳,经营范围含报废机动车拆解,生产性废旧金属回收,金属废料和碎屑加工处理,再生资源回收、加工、销售等。股东信息显示,该公司由鞍钢股份(000898)全资持股。

-
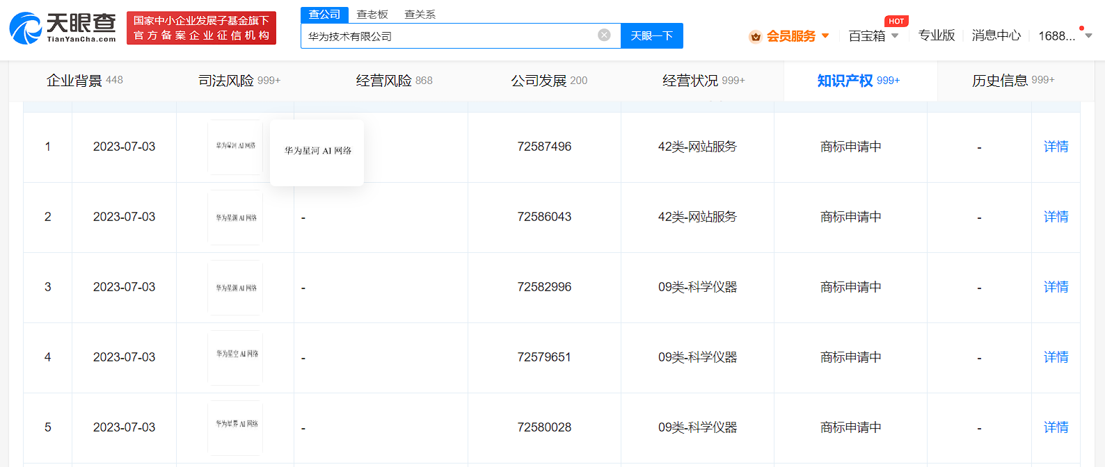
华为申请多个AI网络商标
查看详情天眼查App显示,近日,华为技术有限公司申请注册“华为星河AI网络”“华为星界AI网络”“华为星渊AI网络”“华为星空AI网络”商标,国际分类涉及科学仪器、网站服务,当前商标状态均为申请中。
据报道,7月6日,2023世界人工智能大会上,华为曝光了其AI战略,下一阶段华为在人工智能领域将深耕算力和大模型。此外,有消息称,华为盘古大模型3.0将于7月7日在华为云开发者大会上发布。
-
灿星文化被冻结210万股权
查看详情天眼查App显示,近日,上海灿星文化传媒股份有限公司新增一则股权冻结信息,被冻结股权数额210万余元,被执行人为汉富(北京)资本管理有限公司,冻结期限自2023年7月4日至2026年7月3日。
上海灿星文化传媒股份有限公司成立于2006年3月,法定代表人为田明,注册资本约3.2亿人民币,经营范围包括演出经纪、广播电视节目制作经营、数字内容制作服务等。最新年报信息显示,汉富(北京)资本管理有限公司持有该公司0.66%股份。官网显示,海灿星文化制作的文化综艺节目超过20档,包括《中国好声音》、《这就是街舞》、《追光吧!哥哥》等。
-
泛海控股所持35亿股权再被冻结
查看详情天眼查App显示,近日,泛海控股股份有限公司新增一则股权冻结信息,股权被执行企业为民生证券股份有限公司,冻结股权数额约35.5亿人民币,冻结期限自2023年7月4日至2026年7月3日,执行法院为上海浦东法院。值得一提的是,泛海控股股份有限公司所持民生证券股份有限公司的股权此前已多次被冻结。
泛海控股股份有限公司成立于1989年5月,于1994年9月上市,其法定代表人为栾先舟,注册资本约51.96亿人民币,经营范围包括投资及投资管理、资产管理等,由中国泛海控股集团有限公司、泛海能源控股股份有限公司、林芝锦华投资管理有限公司等共同持股。